- Полное прохождение
- Глава 1: Деревня Калим
- Глава 2: Гебет
- Глава 4: Казарма Стражей
- Глава 5: Святой город Аратум
- Глава 6: Осада (часть 1)
- Глава 7: Осада (часть 2)
- Глава 8: Глубинный лес
- Глава 9: Исконная кузница
- Глава 10: Забытые равнины
- Глава 11: Перелом
- Глава 12: Командный пункт Стражей
- Глава 13: Из иного мира
- Глава 14: Шпиль Нератула
- Глава 15: Город Райуул
- Глава 16: Болота КарТула
- Глава 17: Храм Ломарит
- Глава 18: Чрево зверя
- Глава 19: Пристанище душ
- Глава 20: Воскрешение
- Глава 22: Возмездие
- Все квесты и их прохождение
- Все рецепты алхимии
- Все скрытые перки
- Все загадки Вотрубы
- Карта батрака Вашека
- Карта видлакских разбойников
- Карта утопленника
- Карта Желеевских болот
- Карта лесорубов из Нижнего Семина
- Оставшаяся от мертвеца карта
- Карта слатейовских охотничьих угодий
- Карта пойманного вора
- Карта контрабандиста
- Карта Боржика
- Хижина дикой бабы
- Хижина водяного
- Перевернутая телега
- Где найти лопату?
- Как получить лошадь?
- Интерактивная карта
- Странные вирши
- Штольня под Тросками
- Два мертвых дерева
- Промокоды
- Тир-лист персонажей
- Баннеры 1.2
- Тир-лист банбу
- Инспектор Мяучело
- Памятные монеты АИК
- Пропавшие мини-грузовики
- Все скрытые квесты
- Все достижения
- Все арты c6 персонажей
- Как повысить уровень доверия агентов?
- Клякса: как приручить?
- Видеопрокат и все видеокассеты
- Отдыхающая домохозяйка: фильм
- Ностальгирующая девушка: фильм
- Влюбленная девушка: фильм
- Квест Клуб загадочников 1 и 2
- Квест Отмотай назад, детектив
- Квест Заметание секретов
- Квест Пропавшая картина
- Квест Бескрайняя бездна
- Квест Пророчество
- Квест Лимб банбу
- Все гайды
- Испытания Мерлина
- Хранилища сокровищ
- Луны мистера Муна
- Хитроумные ключи
- Головоломки Иродианы
- Квест «Призрак нашей любви»
- Квест «Колодец, колодец»
- Квест «Сокровища из проклятой гробницы»
- Квест «Гиппогриф вам укажет путь»
- Квест «Словно по звонку»
- Непростительные заклинания
- Все легендарные сундуки
- Все животные и твари
- Все метлы
- Все концовки
- Все гайды
- Башня Рамазита и колдовской погреб
- Вызов Шар — все испытания и Копье Ночи
- Логово Ансура — все чертоги и дракон
- Литейная стальной стражи — как спасти гондийцев
- Обыскать подвал — как открыть Некромантию Тхая
- Разрушенная башня — как запустить лифт
- Адамантиновая кузня — все формы и мифриловая руда
- Завершить оружейный шедевр — кора суссура
- Тетушка Этель — как спасти Майрину
- Яйцо гитьянки — как украсть и можно ли вырастить
- Мистический Падальщик — где найти слугу
- Найти клоуна Каплю — все части тела
- Как победить Геррингот Торм?
- Где найти Кровь Латандера?
- Где найти Песню Ночи?
- Все гайды
- Промокоды Honkai Star Rail
- Все сундуки Золотого мига в Honkai Star Rail
- Похвала высокой морали в Honkai Star Rail
- Все сундуки в Лофу Сяньчжоу из Honkai Star Rail
- Первооткрыватель в Honkai Star Rail
- Все сундуки Сада безмятежности в Honkai Star Rail
- Беглецы в Доме кандалов
- Заказ прокси
- Дом кандалов: сундуки и робоптахи
- Гексанексус: Remake в ХСР
Sony патентует геймпад с камерой для распознания эмоций — так можно дать понять друзьям, насколько все плохо
На концептах, объясняющих суть устройства, явно нарисована Dark Souls.
 
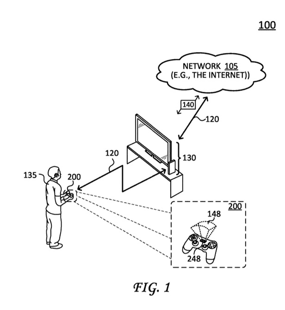
					Американское патентное ведомство раскрыло заявку, поданную игровым подразделением корпорации Sony в конце 2017 года. В заявке описывается геймпад со встроенной камерой, использующейся для распознавания эмоций игрока.
Внешний вид геймпада в заявке подробно не раскрывается; изображение на схематичных рисунках напоминает современный DualShock 4. Камера, размещенная в верхней части устройства — там, где у DualShock 4 тачпад — будет передавать изображения на консоль.
Как сказано в заявке, на основе полученного изображения и распознанной эмоции консоль может предложить отправить соответствующее emoji друзьям игрока, находящимся в сети. На пояснительном рисунке изображена игра, напоминающая Dark Souls, и чат-оверлей.
Помимо выбора emoji из заранее подготовленного списка система может создать новую эмоцию на основе выражения лица игрока. Детали работы механизма не раскрываются.
Подача заявки на патент не означает, что новый DualShock будет обладать таким функционалом. Например, ранее Sony запатентовала геймпад с сенсорным экраном, но без тачпада.
- Ушла эпоха: Каз Хираи покинул Sony
- Xbox вошел в сотню самых дорогих брендов, а PlayStation — нет
- Демо-версия Heavy Rain вышла на PC — но она, кажется, ни у кого не работает
- Видео: «Игра престолов» для самых маленьких
- Слух: EA Access для PlayStation 4 анонсируют на State of Play
- Sony анонсировала презентации State of Play, первая пройдет 25 марта
 
 

