- Полное прохождение
- Глава 1: Деревня Калим
- Глава 2: Гебет
- Глава 4: Казарма Стражей
- Глава 5: Святой город Аратум
- Глава 6: Осада (часть 1)
- Глава 7: Осада (часть 2)
- Глава 8: Глубинный лес
- Глава 9: Исконная кузница
- Глава 10: Забытые равнины
- Глава 11: Перелом
- Глава 12: Командный пункт Стражей
- Глава 13: Из иного мира
- Глава 14: Шпиль Нератула
- Глава 15: Город Райуул
- Глава 16: Болота КарТула
- Глава 17: Храм Ломарит
- Глава 18: Чрево зверя
- Глава 19: Пристанище душ
- Глава 20: Воскрешение
- Глава 22: Возмездие
- Все квесты и их прохождение
- Все рецепты алхимии
- Все скрытые перки
- Все загадки Вотрубы
- Карта батрака Вашека
- Карта видлакских разбойников
- Карта утопленника
- Карта Желеевских болот
- Карта лесорубов из Нижнего Семина
- Оставшаяся от мертвеца карта
- Карта слатейовских охотничьих угодий
- Карта пойманного вора
- Карта контрабандиста
- Карта Боржика
- Хижина дикой бабы
- Хижина водяного
- Перевернутая телега
- Где найти лопату?
- Как получить лошадь?
- Интерактивная карта
- Странные вирши
- Штольня под Тросками
- Два мертвых дерева
- Промокоды
- Тир-лист персонажей
- Баннеры 1.2
- Тир-лист банбу
- Инспектор Мяучело
- Памятные монеты АИК
- Пропавшие мини-грузовики
- Все скрытые квесты
- Все достижения
- Все арты c6 персонажей
- Как повысить уровень доверия агентов?
- Клякса: как приручить?
- Видеопрокат и все видеокассеты
- Отдыхающая домохозяйка: фильм
- Ностальгирующая девушка: фильм
- Влюбленная девушка: фильм
- Квест Клуб загадочников 1 и 2
- Квест Отмотай назад, детектив
- Квест Заметание секретов
- Квест Пропавшая картина
- Квест Бескрайняя бездна
- Квест Пророчество
- Квест Лимб банбу
- Все гайды
- Испытания Мерлина
- Хранилища сокровищ
- Луны мистера Муна
- Хитроумные ключи
- Головоломки Иродианы
- Квест «Призрак нашей любви»
- Квест «Колодец, колодец»
- Квест «Сокровища из проклятой гробницы»
- Квест «Гиппогриф вам укажет путь»
- Квест «Словно по звонку»
- Непростительные заклинания
- Все легендарные сундуки
- Все животные и твари
- Все метлы
- Все концовки
- Все гайды
- Башня Рамазита и колдовской погреб
- Вызов Шар — все испытания и Копье Ночи
- Логово Ансура — все чертоги и дракон
- Литейная стальной стражи — как спасти гондийцев
- Обыскать подвал — как открыть Некромантию Тхая
- Разрушенная башня — как запустить лифт
- Адамантиновая кузня — все формы и мифриловая руда
- Завершить оружейный шедевр — кора суссура
- Тетушка Этель — как спасти Майрину
- Яйцо гитьянки — как украсть и можно ли вырастить
- Мистический Падальщик — где найти слугу
- Найти клоуна Каплю — все части тела
- Как победить Геррингот Торм?
- Где найти Кровь Латандера?
- Где найти Песню Ночи?
- Все гайды
- Промокоды Honkai Star Rail
- Все сундуки Золотого мига в Honkai Star Rail
- Похвала высокой морали в Honkai Star Rail
- Все сундуки в Лофу Сяньчжоу из Honkai Star Rail
- Первооткрыватель в Honkai Star Rail
- Все сундуки Сада безмятежности в Honkai Star Rail
- Беглецы в Доме кандалов
- Заказ прокси
- Дом кандалов: сундуки и робоптахи
- Гексанексус: Remake в ХСР
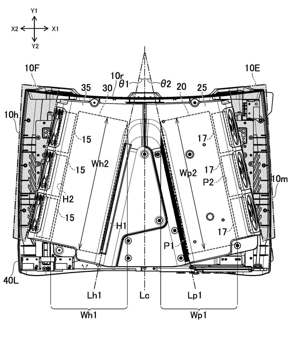
Патент: девкит PlayStation 5 с шестью кулерами внутри
Материнская плата консоли все-таки не разделена надвое.
В открытый доступ был выложен патент, описывающий девкит PlayStation 5. В отличие от первых изображений, на основе которых удалось воссоздать внешний вид девкита, новый патент позволяет заглянуть внутрь устройства.
Оказалось, что система охлаждения девкита базируется на шести кулерах, расположенных по бокам консоли. Кулеры с одной стороны обдувают массивный радиатор, под которым скрывается чипсет. С другой стороны находится блок питания девкита.
На виде сверху хорошо заметно, что материнская плата консоли не разделена на две части, а углубление в центре девкита действительно используется для более эффективного охлаждения и воздухообмена.
Согласно описанию патента, система охлаждения материнской платы и чипов устроена примерно так же, как у Xbox Series X: эффективность обеспечивается благодаря многочисленным тепловым трубкам. Радиатор отдаленно напоминает тот, что был найден среди патентов Sony в конце апреля.
Можно предположить, что благодаря отдельному охлаждению блока питания и материнской платы девкит греется гораздо слабее, чем в стандартных корпусах. Однако по его конструкции сложно судить, как будет выглядеть финальная версия консоли: вполне возможно, что ее все-таки упакуют в обычный корпус.
- Мнение: игры для PlayStation 5 придется адаптировать под медленный накопитель Xbox Series X
- Игры для PlayStation 5 покажут 11 июня
- Бесплатная раздача Overcooked в Epic Games Store
- В Steam появились игры EA и началась распродажа, на подходе подписка EA Access
- СМИ: пик производства чипов для PlayStation 5 придется уже на август
- Почему накопитель PlayStation 5 быстрее SSD, читающего 24 гигабайта в секунду: объясняет Тим Суини


