- Полное прохождение
- Глава 1: Деревня Калим
- Глава 2: Гебет
- Глава 4: Казарма Стражей
- Глава 5: Святой город Аратум
- Глава 6: Осада (часть 1)
- Глава 7: Осада (часть 2)
- Глава 8: Глубинный лес
- Глава 9: Исконная кузница
- Глава 10: Забытые равнины
- Глава 11: Перелом
- Глава 12: Командный пункт Стражей
- Глава 13: Из иного мира
- Глава 14: Шпиль Нератула
- Глава 15: Город Райуул
- Глава 16: Болота КарТула
- Глава 17: Храм Ломарит
- Глава 18: Чрево зверя
- Глава 19: Пристанище душ
- Глава 20: Воскрешение
- Глава 22: Возмездие
- Все квесты и их прохождение
- Все рецепты алхимии
- Все скрытые перки
- Все загадки Вотрубы
- Карта батрака Вашека
- Карта видлакских разбойников
- Карта утопленника
- Карта Желеевских болот
- Карта лесорубов из Нижнего Семина
- Оставшаяся от мертвеца карта
- Карта слатейовских охотничьих угодий
- Карта пойманного вора
- Карта контрабандиста
- Карта Боржика
- Хижина дикой бабы
- Хижина водяного
- Перевернутая телега
- Где найти лопату?
- Как получить лошадь?
- Интерактивная карта
- Странные вирши
- Штольня под Тросками
- Два мертвых дерева
- Промокоды
- Тир-лист персонажей
- Баннеры 1.2
- Тир-лист банбу
- Инспектор Мяучело
- Памятные монеты АИК
- Пропавшие мини-грузовики
- Все скрытые квесты
- Все достижения
- Все арты c6 персонажей
- Как повысить уровень доверия агентов?
- Клякса: как приручить?
- Видеопрокат и все видеокассеты
- Отдыхающая домохозяйка: фильм
- Ностальгирующая девушка: фильм
- Влюбленная девушка: фильм
- Квест Клуб загадочников 1 и 2
- Квест Отмотай назад, детектив
- Квест Заметание секретов
- Квест Пропавшая картина
- Квест Бескрайняя бездна
- Квест Пророчество
- Квест Лимб банбу
- Все гайды
- Испытания Мерлина
- Хранилища сокровищ
- Луны мистера Муна
- Хитроумные ключи
- Головоломки Иродианы
- Квест «Призрак нашей любви»
- Квест «Колодец, колодец»
- Квест «Сокровища из проклятой гробницы»
- Квест «Гиппогриф вам укажет путь»
- Квест «Словно по звонку»
- Непростительные заклинания
- Все легендарные сундуки
- Все животные и твари
- Все метлы
- Все концовки
- Все гайды
- Башня Рамазита и колдовской погреб
- Вызов Шар — все испытания и Копье Ночи
- Логово Ансура — все чертоги и дракон
- Литейная стальной стражи — как спасти гондийцев
- Обыскать подвал — как открыть Некромантию Тхая
- Разрушенная башня — как запустить лифт
- Адамантиновая кузня — все формы и мифриловая руда
- Завершить оружейный шедевр — кора суссура
- Тетушка Этель — как спасти Майрину
- Яйцо гитьянки — как украсть и можно ли вырастить
- Мистический Падальщик — где найти слугу
- Найти клоуна Каплю — все части тела
- Как победить Геррингот Торм?
- Где найти Кровь Латандера?
- Где найти Песню Ночи?
- Все гайды
- Промокоды Honkai Star Rail
- Все сундуки Золотого мига в Honkai Star Rail
- Похвала высокой морали в Honkai Star Rail
- Все сундуки в Лофу Сяньчжоу из Honkai Star Rail
- Первооткрыватель в Honkai Star Rail
- Все сундуки Сада безмятежности в Honkai Star Rail
- Беглецы в Доме кандалов
- Заказ прокси
- Дом кандалов: сундуки и робоптахи
- Гексанексус: Remake в ХСР
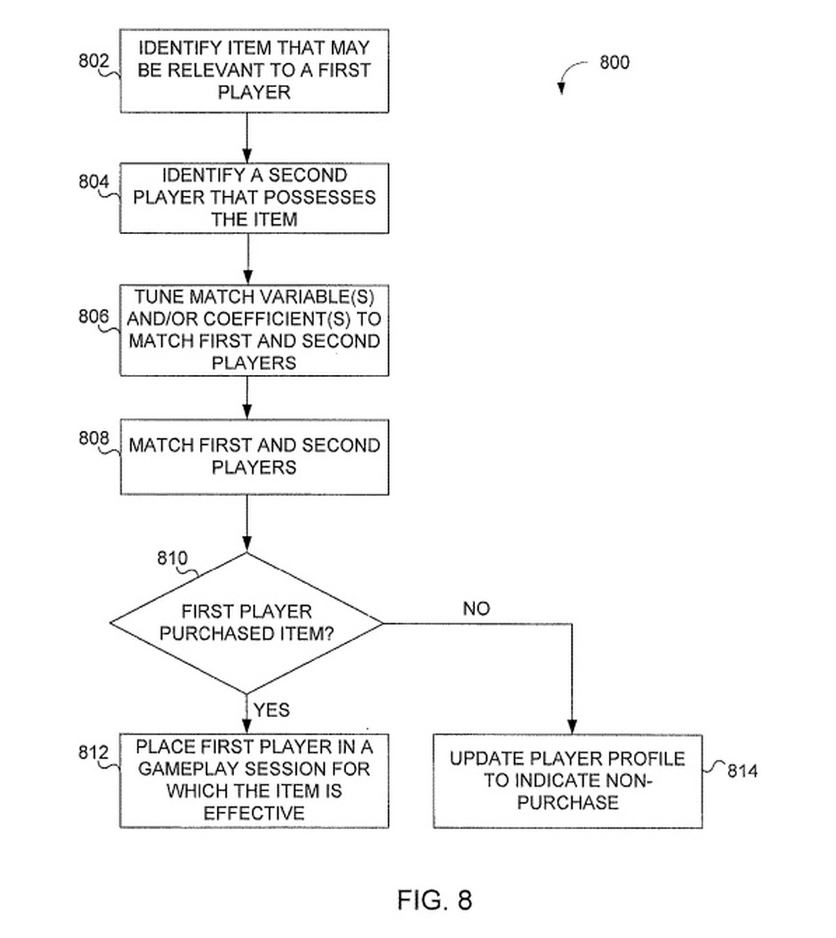
Activision запатентовала технологию подбора соперников, заставляющую игрока задуматься о микротранзакциях
Редакция Glixel обнаружила любопытный патент, описывающий созданную в Activision технологию подбора соперников. Эта технология работает таким образом, чтобы игроки задумывались о покупке внутриигровых предметов.
Заявка на регистрацию патента была подана еще в 2015 году - вероятно, тогда же была и разработана соответствующая технология - однако сам патент был получен только вчера, 17 октября.
Патент подробно описывает принципы подбора соперников в мультиплеерных матчах, учитывая множество факторов, в том числе задержку соединения, присутствие друзей в Сети, уровень навыков игрока и желание разработчиков продать игроку какой-либо предмет.
Например, если игра подберет игроку-новичку предмет для потенциальной продажи, то в матче может появиться более опытный игрок, уже обладающий этим предметом. Разработчики считают, что посмотрев на его успехи новичок может решиться на покупку этого предмета.
Кроме того, технология Activision может вознаграждать игрока за покупку предмета. После покупки алгоритм способен подобрать игроку таких соперников, против которых его новое оружие будет особенно эффективно: так будет создано впечатления, что деньги потрачены не зря и игрок получит мотивацию купить что-нибудь еще.
Представители Activision заявили Glixel, что описанная технология была создана исследовательским отделом, работающим независимо от команд разработки, и не используется ни в одной игре компании. Представители Bungie также отметили, что в Destiny 2 такая технология не применяется.
- Финансовый отчет Activision Blizzard: $1 миллиард внутриигровых покупок
- У Activision есть еще один интересный патент, связанный с микротранзакциями
- Что интересного показали в предрелизном стриме Assassin’s Creed Origins
- Слух: Dead Space 2 не оправдала ожиданий Electronic Arts
- Финансовый отчет Activision Blizzard: предзаказы Destiny 2, успех Crash Bandicoot и рекордная аудитория Overwatch
- Финансовый отчет Activision Blizzard: лучше прогнозов, Call of Duty: WWII и Destiny 2 активно предзаказывают

