- Полное прохождение
- Глава 1: Деревня Калим
- Глава 2: Гебет
- Глава 4: Казарма Стражей
- Глава 5: Святой город Аратум
- Глава 6: Осада (часть 1)
- Глава 7: Осада (часть 2)
- Глава 8: Глубинный лес
- Глава 9: Исконная кузница
- Глава 10: Забытые равнины
- Глава 11: Перелом
- Глава 12: Командный пункт Стражей
- Глава 13: Из иного мира
- Глава 14: Шпиль Нератула
- Глава 15: Город Райуул
- Глава 16: Болота КарТула
- Глава 17: Храм Ломарит
- Глава 18: Чрево зверя
- Глава 19: Пристанище душ
- Глава 20: Воскрешение
- Глава 22: Возмездие
- Все квесты и их прохождение
- Все рецепты алхимии
- Все скрытые перки
- Все загадки Вотрубы
- Карта батрака Вашека
- Карта видлакских разбойников
- Карта утопленника
- Карта Желеевских болот
- Карта лесорубов из Нижнего Семина
- Оставшаяся от мертвеца карта
- Карта слатейовских охотничьих угодий
- Карта пойманного вора
- Карта контрабандиста
- Карта Боржика
- Хижина дикой бабы
- Хижина водяного
- Перевернутая телега
- Где найти лопату?
- Как получить лошадь?
- Интерактивная карта
- Странные вирши
- Штольня под Тросками
- Два мертвых дерева
- Промокоды
- Тир-лист персонажей
- Баннеры 1.2
- Тир-лист банбу
- Инспектор Мяучело
- Памятные монеты АИК
- Пропавшие мини-грузовики
- Все скрытые квесты
- Все достижения
- Все арты c6 персонажей
- Как повысить уровень доверия агентов?
- Клякса: как приручить?
- Видеопрокат и все видеокассеты
- Отдыхающая домохозяйка: фильм
- Ностальгирующая девушка: фильм
- Влюбленная девушка: фильм
- Квест Клуб загадочников 1 и 2
- Квест Отмотай назад, детектив
- Квест Заметание секретов
- Квест Пропавшая картина
- Квест Бескрайняя бездна
- Квест Пророчество
- Квест Лимб банбу
- Все гайды
- Испытания Мерлина
- Хранилища сокровищ
- Луны мистера Муна
- Хитроумные ключи
- Головоломки Иродианы
- Квест «Призрак нашей любви»
- Квест «Колодец, колодец»
- Квест «Сокровища из проклятой гробницы»
- Квест «Гиппогриф вам укажет путь»
- Квест «Словно по звонку»
- Непростительные заклинания
- Все легендарные сундуки
- Все животные и твари
- Все метлы
- Все концовки
- Все гайды
- Башня Рамазита и колдовской погреб
- Вызов Шар — все испытания и Копье Ночи
- Логово Ансура — все чертоги и дракон
- Литейная стальной стражи — как спасти гондийцев
- Обыскать подвал — как открыть Некромантию Тхая
- Разрушенная башня — как запустить лифт
- Адамантиновая кузня — все формы и мифриловая руда
- Завершить оружейный шедевр — кора суссура
- Тетушка Этель — как спасти Майрину
- Яйцо гитьянки — как украсть и можно ли вырастить
- Мистический Падальщик — где найти слугу
- Найти клоуна Каплю — все части тела
- Как победить Геррингот Торм?
- Где найти Кровь Латандера?
- Где найти Песню Ночи?
- Все гайды
- Промокоды Honkai Star Rail
- Все сундуки Золотого мига в Honkai Star Rail
- Похвала высокой морали в Honkai Star Rail
- Все сундуки в Лофу Сяньчжоу из Honkai Star Rail
- Первооткрыватель в Honkai Star Rail
- Все сундуки Сада безмятежности в Honkai Star Rail
- Беглецы в Доме кандалов
- Заказ прокси
- Дом кандалов: сундуки и робоптахи
- Гексанексус: Remake в ХСР
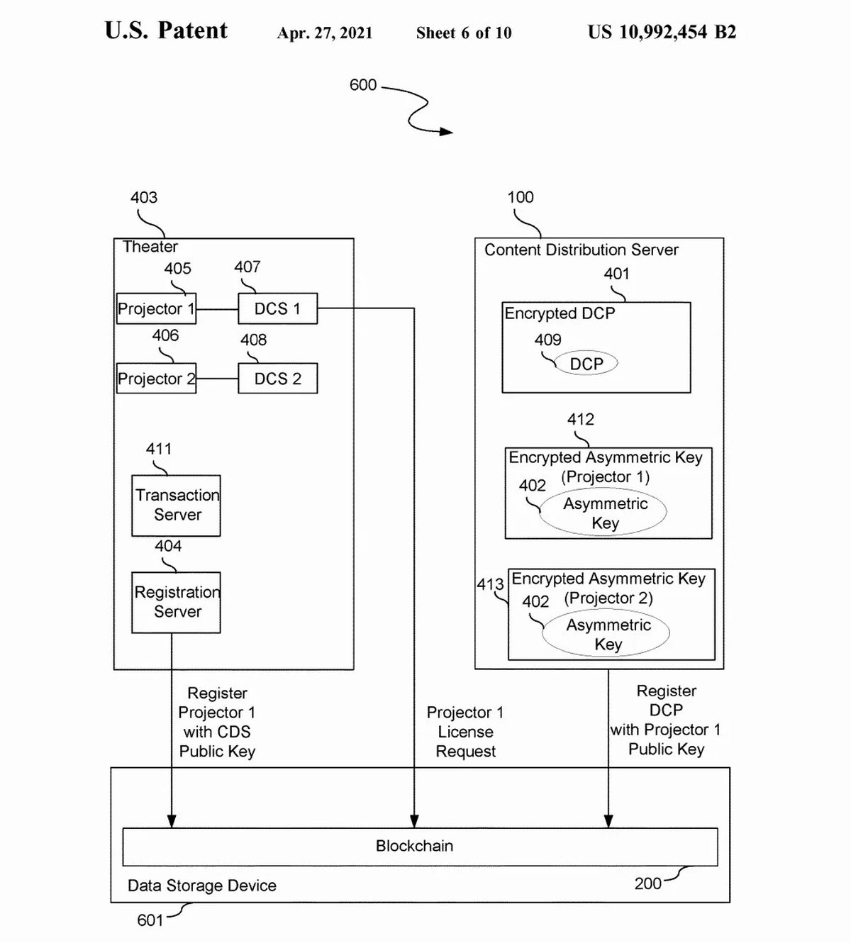
Disney патентует систему распространения фильмов на базе блокчейна
Предполагается, что она позволит улучшить защиту от пиратов.
Исследовательское подразделение Disney подало заявку на патент системы распространения фильмов, использующей технологию блокчейн. В компании надеются, что такая система позволит снизить уровень пиратства.
Речь идет о системе, с помощью которой фильмы доставляются в кинотеатры. Сейчас пираты, договорившись с сотрудниками кинотеатра, могут делать копии непосредственно с экземпляра, присланного кинокомпанией. Брешь постарались закрыть с помощью водяных знаков, добавляемых на изображение, но в Disney считают, что этого недостаточно.
В частности, отмечается в заявке, водяные знаки могут добавляться уже после того, как пираты сделали копию картины. В Disney надеются, что система на базе блокчейна позволит лучше контролировать процесс распространения фильма.
Во-первых, блокчейн предлагается сконфигурировать таким образом, чтобы фильм разблокировался только после того, как его прибытие будет подтверждено в кинотеатре. Это позволит устранить ситуации, когда пираты тем или иным образом перехватывали картину, еще не попавшую в кинотеатр.
Во-вторых, система сможет автоматически отслеживать количество показов фильма. Это поможет избежать и нелегального проката, и ситуаций, когда фильм гоняют в пустом зале, чтобы снять с него экранную копию: количество легальных показов можно будет сравнить с числом фактических показов.
Хотя система в первую очередь заточена под кинотеатры, в Disney отмечают, что она может использоваться и с другими средствами распространения контента: например, в стриминговых сервисах. О реальном применении технологии в патенте ничего не сообщается.
Как отмечает TorrentFreak, такая система может защитить от ранних, допремьерных утечек фильмов. Но даже блокчейн вряд ли помешает пиратам просто копировать контент, уже загруженный в Disney Plus и доступный для просмотра.
- В топ App Store попало пиратское приложение: его замаскировали под судоку
- Робот-Паук и дополненная реальность: экскурсия по кампусу Мстителей в Диснейленде
- AС Valhalla Гнев друидов: сет брони Героя Дублина
- AС Valhalla Гнев друидов: Византийский сет брони
- Румынский «замок Дракулы» превратили в центр вакцинирования от COVID-19
- От Китона до «Форсажа»: как за 100 лет изменились съемки автомобильных погонь

